ЕГЭ и ОГЭ
Главная

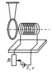
Решение 2962. Многовитковая катушка медного провода подключена к источнику тока через реостат. Вблизи торца катушки на шёлковых нитях подвешено замкнутое медное кольцо с малым сопротивлением. Ось кольца совпадает с

Задание 27. Многовитковая катушка медного провода подключена к источнику тока через реостат. Вблизи торца катушки на шёлковых нитях подвешено замкнутое медное кольцо с малым сопротивлением. Ось кольца совпадает с осью катушки (см. рисунок). Опишите, как начнёт двигаться кольцо (притянется, оттолкнётся или останется неподвижным относительно катушки), если движок реостата резко сдвинуть вниз в крайнее положение. Ответ поясните, указав, какие физические явления и закономерности Вы использовали для объяснения.

Решение.

1. Кольцо притянется к катушке.

2. При смещении движка реостата вниз его сопротивление увеличивается до максимума, а сила тока в катушке согласно закону Ома для полной цепи уменьшается . При этом уменьшается поток вектора магнитной индукции через кольцо. По закону электромагнитной индукции в кольце возникает ЭДС индукции, появляется индукционный ток. В соответствии с правилом Ленца вектор магнитной индукции поля индукционного тока будет сонаправлен с вектором магнитной индукции поля катушки и направлен влево. Взаимодействие токов в кольце и катушке приводит к тому, что кольцо притягивается к катушке и начнёт двигаться вправо к торцу катушки.

Ответ: кольцо притягивается к катушке.


Другие задания:

Темы раздела

Для наших пользователей доступны следующие материалы: