ЕГЭ и ОГЭ
Главная

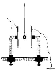
Решение 2651. Для оценки заряда, накопленного воздушным конденсатором, можно использовать устройство, изображённое на рисунке: лёгкий шарик из оловянной фольги подвешен на изолирующей нити между двумя пластинами конденсатора

Задание 16. Для оценки заряда, накопленного воздушным конденсатором, можно использовать устройство, изображённое на рисунке: лёгкий шарик из оловянной фольги подвешен на изолирующей нити между двумя пластинами конденсатора, при этом одна из пластин заземлена, а другая заряжена положительно. Когда устройство собрано, а конденсатор заряжен (и отсоединён от источника), шарик приходит в колебательное движение, касаясь поочерёдно обеих пластин.

Выберите два верных утверждения, соответствующих колебательному движению шарика после первого касания пластины.

1) По мере колебаний шарика напряжение между пластинами конденсатора уменьшается.

2) При движении шарика к положительно заряженной пластине его заряд равен нулю, а при движении к заземлённой пластине — положителен.

3) При движении шарика к заземлённой пластине он заряжен положительно, а при движении к положительно заряженной пластине — отрицательно.

4) При движении шарика к заземлённой пластине он заряжен отрицательно, а при движении к положительно заряженной пластине — положительно.

5) По мере колебаний шарика электрическая ёмкость конденсатора уменьшается.

Решение.

1) Да, так как шарик из фольги, соприкоснувшись, сначала с положительной пластиной, заряжается положительно и под действием отталкивающей силы Кулона (от положительной пластины) и притягивающей силы Кулона (от отрицательной пластины) начинает движение вправо (к отрицательному полюсу). В момент соприкосновения с заземленной пластиной, накопленный заряд нейтрализуется и шарик вновь начинает движение к положительному полюсу. В результате, заряд конденсатора постепенно уменьшается.

2)-4) Оловянная фольга представляет собой проводник, в котором свободные электроны концентрируются со стороны положительной пластины под действием электрического поля. Благодаря этому отрицательному заряду, шарик начинает движение к положительному полюсу под действием кулоновских сил. Соприкасаясь с положительной обкладкой конденсатора, электроны переходят на нее, а шарик приобретает положительный заряд, начиная движение к отрицательной пластине.

5) Электрическая емкость – это способность конденсатора накапливать заряд. Эта величина не зависит от текущего количества заряда на его обкладках, а только от характеристик самого конденсатора.

Ответ: 13.


Другие задания:

Темы раздела

Для наших пользователей доступны следующие материалы: